石兄,我沒有跟蹤這些高大上的金銀幣,你引用蘇先生的帖子時如果給個出處會方便大家。
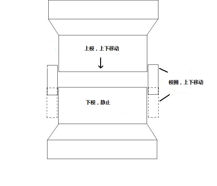
就我對模具的那點粗淺的了解,還真不明白如何“因此模具大師在模圈內又加了個圈,增加模具強度,后來就能順利生產了。這種加了圈的模具,壓印出來的幣,就是我們看到的有一圈槽的幣”。下面是一般印花機上下模和模圈的示意圖(取自國外網站,文字由我做了翻譯):

模圈的內徑和上下工作模的直徑是相吻合的。模圈內要再加一個圈,這個內圈勢必就要夾在上下工作模之間。且不說如何通過上下移動來脫模(也許是開合式模圈),這樣一來,壓出來的幣直徑就會小一圈。而要保持同樣重量,幣就必須做厚一些。只要測量一下連邊幣和離邊幣的尺寸和厚度,就能確定這個說法是否準確。我心里納悶,如果要增加模圈強度,最方便的辦法是把整個模圈做厚一點,而內徑保持不變。為什么要找麻煩,在模圈內部再加個圈?不知道哪位模具大師能解釋一下?
下面再看一下即使模圈里加了個內圈,是否能夠壓出一圈槽來。如果上下工作模的圖案保持不變,但是上下模之間又加了一個內模圈,結果是下圖中靠模圈的那個空間被擠縮,也就是說壓出來的幣邊變窄或消失,如何多出一個空槽來?

另外就實際生產來看,離邊版是因為模具破裂加模圈而形成的說法很有問題:20盎斯金幣《67枚》為連邊版、20盎斯銀幣《585枚-含2枚連邊版試鑄樣幣》為離邊版、5盎司金幣《102枚-含無編號》為連邊版、5盎司銀幣《891枚》為連邊版、1盎司金幣《1408枚-含1枚離邊版》為連邊版、1盎司銀幣《7000枚》為連邊版、1/4與1/10盎司金幣《均不限量》均為離邊版。既然連邊版會把模圈打碎,如何生產出的金銀幣大部分是連邊版?
對以上現象比較合理的解釋,是連邊版的工作模在壓印小規模金銀幣和大規模金幣的時候沒有問題。但是壓印到大規模銀幣時,因為銀金屬比較硬,工作模(不是模圈)容易碎裂。(這種現象在圖案與幣邊相連的情況下比較多見。)因此為了將圖案離開幣邊一個距離,避免模具碎裂,模具大師(不是設計師)在石膏模上留出一道邊圈,目的是防止圖案和幣邊相連,增加工作模強度。(做這事的稱為模具大師還差不多。加工模圈的車間工人還真稱不上模具大師。)這樣連邊版和離邊版就是兩個石膏模做出來的。
蘇先生在帖子中已經提出是不同模具做的可能性:從《孔雀開屏圖》連邊版銀幣與正常版《離邊版》圖檔比對較為明顯異常情形: 民與共字筆畫粗細及間距稍有不同,小孔雀左方紅色框示小樹干間之空隙噴砂與否不同《陳景林先生收藏之2幣實物特征亦同》,
判該兩版錢幣或為不同版本之模具所鑄造,故中國金幣《金銀幣收藏與投資》對《模具大師在模圈內又加了個圈,增加模具強度,后來就能順利生產了。》之說詞存疑?
[ 此帖被fwang2450在2016-04-12 06:52重新編輯 ]